High Voltage supplies
Home
Tesla coil sparks
Tesla coils
Modern Thinker
Red Alert Tesla
Hi volt Antivirus
Xmas
High Voltage supplies
High Voltage sparks
Lifters
Jacobs Ladder
Can Crushing
Pulse Power
Low Voltage Power
LEDs
Electronics
Laser - YAG gas
Laser - Nitrogen
Laser - Diode
Laser - Misc
Rail gun
Ferrofluid
Liquid Nitrogen
Magnetic Levitation
Magnetohydrodynam.
Nuclear, X-ray
Interesting Stuff
Public Displays
Nature Photo Gallery
Failures
Misc
Galleries
About Me
Links
Media
Whats New Blog?

 

       

 

 

 


High voltage supply projects on this page include:

bullet

X-ray transformer 60 kV DC

bullet

Mobile x-ray unit 100 kV DC

bullet

Voltage multiplier (Cockcroft-Walton) 30 kV, 2 kV

bullet

Junkyard transformer 3 kV AC

bullet

Ignition coil sparks 60 kV AC

bullet

MOT supply in a MO 60 kV AC

bullet

Another MOT supply 13 kV DC

bullet

TV flyback HV supply 60 W AC

bullet

TV flyback HV supply 300 W AC

bullet

TV flyback HV supply 80 kV DC

bullet

Variable frequency flyback supply, 4 kV AC  

bullet

Candy box HV 40 kV AC

bullet

HV supplies from a photocopier 5 kV

bullet

Valve regulated supply 50 kV DC

bullet

Xenon lamp ignition supply  50 kV AC

bullet

X-ray transformer 120 kV AC

bullet

Sparks for beginners

bullet

Van de Graaff generator

bullet

Spiral impulse generator 30 kV AC

bullet

Voltmeter

bullet

LED Voltmeter

bullet

Water resistor

bullet

Future plans.

horizontal rule

X-ray transformer 60 kV DC 2008
Here is  a 300 kg x-ray transformer which has 3 phase 240 V 45 A in for 60 kV 300 mA out. It is capable of making an arc drawn out to 2 feet so it is a serious piece of HV gear.

  (click to enlarge)

Above left photo shows the  transformer which has everything under oil including rectifiers. The right photo shows the face plate specifications.



(click to enlarge)

Above shows the series of 4 photos of the spark initially jumping just over 1 inch to my 200 kOhm water resistor for current limiting. The yellow ruler is 9 inches.  The second photo shows the spark jumping to the sheet metal back that I has too close.  It then began to "climb" and stretch out. This is now the full output with no resistor. It reaches it's full height at 26 inches before extinguishing like a Jacobs ladder. My wife came out to see why the power had "browned out" in the house.

Input power for the spark through the resistor is 25 A measured by a clamp meter at perhaps 100V. I didn't take current measurements with the spark above but the input voltage was set on the variac at 200 V. It didn't trip a 20A breaker possibly because each run was only a couple of seconds.

horizontal rule

Mobile x-ray unit 100 kV DC   2004
I have acquired a mobile x ray unit base with its associated 100 kV transformer, diodes and capacitor under oil.

    (click to enlarge)

The mobile unit partially disassembled.  I have already used the meter to make my high voltage meter described later.  One of the ballast transformers went on to be used as the electromagnet in my magnetic levitation unit.


  (click to enlarge)

A peek at the internals lifted out of oil. The transformer which by my calculations will be at least 17 kV AC in a single winding drives a bridge doubler arrangement with 2 diodes.  The 2 diodes are the single  black bar in the middle photo about 1 foot (30 cm) long. The right photo shows one terminal of the capacitor which is about a cubic foot and occupies most  of the space.

(click to enlarge)

The burnout on the left above lost only 4 of the 67 resistors.  It was resurrected and extended to 100 resistors for total 160 kohm and immersed in oil in the container above.  Despite the 6 inch gap between electrodes it still arcs across at times with this 100kv supply.

  (click to enlarge)

A 5 inch (12cm) arc between terminals is on the left instead of going through the resistor as intended.  On the right with the upgraded resistor with a large convoluted power arc that last about 1/2 second.

horizontal rule

Voltage multiplier (Cockcroft-Walton) 30 kV, 2 kV 2003
This uses two diodes and two capacitors to convert an NST's 12 kV AC into around 30 kV DC. This gives an intense spark 1 1/2 inches long.

  (click to enlarge)

The left photo is of my poorly designed ceramic capacitor bank cut in half with the blown capacitors removed. I blew out 40 out of the 200 capacitors before I got a satisfactory photo.  Of course this is very stressful for capacitors.  The right photo is the same diode setup but with my rolled polyethylene/aluminium foil capacitors of 48 nF and 15 nF giving a much more intense spark with some steel wool to give the sparkles. 

The circuit diagram is shown above. One diode was made from 3 microwave oven diodes rated around 11 kV each and the other diode from two 1N4007 (1000 PIV rating) arrays of 40 diodes each.

  (click to enlarge)

Here is a low voltage dual 5 stage C-W multiplier which puts out 2000 VDC from 100 VAC.  The current is very low at the highest voltages and even the digital multimeter drops the voltage by perhaps 10% or so.

horizontal rule

Voltage multiplier (Cockcroft-Walton) 200kV 2008
I have started this by making the outline of a HV tower using a 12 inch stainless steel gazing ball found as a pool ornament in the local nursery.  The metal frame is temporary to get an idea of how the corona rings will sit.  I have made up 5 of these and they will help prevent corona causing power loss.

(click to enlarge)

At this stage I am a little unclear whether I will make it a mains frequency unit run from an x-ray transformer or a high frequency driven unit.  The capacitor sizes are vastly different but I can get more convenient power from the x-ray transformer.

horizontal rule

Junkyard transformer 3 kV AC  2003

  (click to enlarge)

This is a 240 V / 3 kV transformer rated at 10 kVA which cost AUD$50 at a junkyard.  Tested here using the most modern equipment with a draw-an-arc-off-it-and-see approach.  I used the ballast as described in Scitech to limit the short circuit current to around 15 A.  It takes 2 strong people to lift it, so at the moment it is stuck on top of my arc welder and 'will not be moved'. It makes a useful anvil as well.

horizontal rule

Ignition coil sparks 60 kV  2004  
A simple way to drive two ignition coils is with a light dimmer in series with the 250 VAC mains and a capacitor of perhaps 1 - 10 uF.  I used two microwave oven caps in parallel for about 2 uF at 2000V which gave sparks of about 2 inches (5 cm).  My meter says about 60 kV peak but may be over reading a bit.

(click to enlarge)

Alternatively one can use SIDAC's. This very simple circuit uses the transformer, capacitor and diode out of a microwave oven to supply 2000 VDC. Once the voltage rises to 2000 V the SIDAC's fire dumping the energy into two ignition coils to give sparks of easily 5 cm. I am using 9 SIDAC's each rated at 240 V 1 A RMS and 20 A pulse. Each is shunted with a 1 Mohm resistor to give more even voltage division.  There is a 10 Kohm 10 W resistor used for these shots but power draw is triggering a 10A cutout and there is sufficient heating of resistor, diode and SIDAC's to only allow short runs.  50 Kohm will allow about 4 sparks per second. 

(click to enlarge)

Unfortunately this is very hard on the ignition coil's insulation. I have lost one coil but the remaining one still puts out 3 inches and also about 10 inches of surface tracking (below).

  (click to enlarge)

horizontal rule

MOT supply in a MO 60 kV AC.  (Microwave oven transformer)  2004
I have a couple of MOT projects. Firstly, there is the SIDAC driven ignition coil driver above.  Secondly there is my MOT multiplier originally constructed as a HeNe laser supply which gives about 9 kV firing and 2 kV running, ballasted by 30 kohms.  I have never had any problems with this supply which gets used for all sorts of general HV stuff in the range 1 - 9 kV such as nitrogen lasers.

To accommodate these projects, so that they look less out of place in a modern kitchen, I rewired a microwave oven, keeping the existing safety interlock, light, fan and transformer.  I removed the magnetron and old electronics and wiring.  I then cut a hole in the cooking cavity and outer case with an angle grinder, added terminals and presto, a neat HV supply. The HV lead from the transformer passes through the microwave waveguide to the cooking cavity with the wire in plastic tubing for extra insulation.  The fan helps cool things and the safety interlock turns off the power when the door is open.  (I forgot about this and thought I had blown a fuse).  There is room for both projects. 


(click to enlarge)

In good Tesla Downunder tradition, total cost is almost nothing, being made almost entirely from scrap microwave ovens, old ignition coils and only a handful of new parts such as the SIDAC's.

horizontal rule

Another MOT supply 13 kV DC  2005, 2008
This charger was to be used in a public display for a can crusher.  It uses a microwave oven transformer (MOT) along with the associated diodes and MO capacitors in a voltage doubler arrangement to give 6 kV output.

(click to enlarge)

The left photo shows a lash up of the charger, showing the various basic components including a red warning strobe to show it is charged.  The right photo shows the partly built charger and 6 kV spark output is shown (drops to less than 1 kV once arc starts).  To keep the HV and mains isolated and still feedback the voltage, I send pulses into a ferrite rod which will be picked up and trigger the solid state relay to turn off once the voltage has risen to the desired level.

I have rewired this supply with an extra stage for higher voltage and added some big power resistors. This is to be used for charging my big capacitor bank.

   (click to enlarge)

The photo above shows the latest reincarnation of this supply. Now with extra stages to boost to the 13 kV shown here plus the addition of two 50 kOhm 100 W resistors as current limiting.  This is to handle the higher voltage of my big cap bank.

horizontal rule

 TV flyback HV supply 60W  2002

(click to enlarge)

This is based on a TV flyback coil and a single 2N3055 power transistor and other on-hand components giving a 1/2 inch spark at 20 V 3 A input. It runs at frequencies above the audible range and only under load is it heard as a whine  when the frequency drops. This is one of my earliest HV setups but not particularly efficient.

horizontal rule

TV flyback HV supply 300W  2004

(click to enlarge)

This circuit is from Andrineri from Vladimiro Maziili.  The supply is made almost entirely from parts from a scrap microwave ovens which are of the electronic type (the light ones).  I used 2 IGBT's and one of the heatsinks along with the small toroid inductor.  The main ferrite transformer, also from the microwave, had the primary heavy Litz wire removed and replaced by 10 turns centre tapped driven by the simple Royer type circuit.  I have also removed the spacers between the cores.  Non microwave parts included the main capacitor, two 12 V Zener's, a few resistors and two high speed diodes (BYV-29 500 Volt, 9 A, 60 nS).
The input here is about 30 V 10 A (300 W) with resonance at about 70 kHz. The IGBT's are rated at 600 V 30 A and only get slightly warm in action but the cap will overheat if the resonant frequency is too high.  Output is probably around 2000 VAC.  The arc stretches out to about an inch and has a lot of power.

(click to enlarge)

The left photo is from a modern TV flyback transformer with core spacers removed and the exposed core wound with 10 turns centre-tapped of rather flimsy wire running about 250 W.  On the right is an older but larger one.

(click to enlarge)

 The older style flyback transformer here has the spacers removed and is a little more efficient. It is running at 44 kHz at 30 V,  6.3 A. (The meters are lying).  The right photo shows a 1 inch DC arc with a 30 nF 40 kV cap added to the unit which now has a dedicated 37 V 10 A power supply.  The intense spark is seen behind the filter made out of 2 welding goggle filters.

horizontal rule

TV flyback HV supply 80kV DC 2005
This is the same driver as above but connected to a multiple stage Cockcroft Walton multiplier giving 4 inch sparks. It uses high speed high voltage diodes in chains of 10 or so per leg. I have covered the open areas with plastic in view of the corona.  It works great for the high voltage lifter and HV antivirus.

    (click to enlarge)

The left photo shows it running with 4 inch sparks with limiting provided by several resistors.   The right photo shows the corona in a time exposure.

horizontal rule

Variable frequency flyback supply 4 kV AC  2007
This supply was made for the Physics Dept that needed a variable 50 -100 kHz sine wave supply  between 1-2 kV. The load is 140 pF and it was to be used to test resonances of a sapphire mirror for a laser interferometer in a gravity wave detector.

I used a simple circuit with a 555 oscillator driving a MOSFET. This drives a ferrite transformer which was from a microwave oven inverter power supply and puts out about 2 kV.  Not technically a flyback transformer but similar.  I rewound the primary to 10 turns. Once driven by enough voltage (about 37 VDC) it puts out about 900 VAC RMS into the capacitative load.  This is about 20 W or more even with no additional load. Since the input waveform is a switched half wave, it has a lot of harmonics.  This excites the resonance of the capacitor and the coil at perhaps 200 kHz.  I have smoothed the output by using a resistor.  Because this is near resonance the resistor takes a lot of the output and the 4 x 10 W resistors get to 160 C.

   (click to enlarge)

The setup is housed in an old variac case which is a neat case and has room for the transformers.  The load resistors are shown and also a voltage divider to allow a CRO to be hooked up.

(click to enlarge)

The spark at 22 kHz is about 5 kV peak (left photo) and can be drawn out. Voltage at 100kHz is about 900 VAC RMS, lower(center photo), but still enough to draw an arc and heat wires.  It lights a nearby neon as well (right photo).  And, no, those low voltage terminals don't stand up to 5kV long.


(click to enlarge)

Left photo is at 22 kHz, center photo at 70 kHz and the right photo is at 100 kHz. The smoothed resonant effect is evident at 100 kHz where the waveform is much more sine wave like.

I learned a bit making this which will be helpful in making  solid state Tesla coils in the future. During the course of testing I did convert this to a half bridge supply before I realized I could smooth the waveform resistively.  I have let the smoke out of a few IGBT's and MOSFET's during testing.

horizontal rule

Candy box HV 40 kV AC  2005  
Don't put your hand in this one!  This uses a disposable camera photoflash running off 3 V using a BD140 and heatsink substituted for the main HV transistor so it can now run at 1.5 A.  Here is a similar photoflash circuit diagram.  I have added a .01 uF capacitor  across the 'charge' switch which is short-circuited when ON switch is off which keeps it running continuously.
I have replaced the main capacitor (120uF 330V) with a 2.25 uF polyester (2 x 5.5 in series) with a 30 K charging resistor.  There is a single SIDAC 230 V which discharges this into the 14 turn primary wound onto a TV flyback transformer.   Not fancy, not neat but no cost.  No Liquorice Allsorts.
 

(click to enlarge)

The disposable photoflash unit with the electronics removed shown charged by the 1.5 V battery.


 
(click to enlarge)

The completed box which produces a 1.5 inch spark with a repetition rate of about 2 Hz.    It is "safe" to touch giving a mild pinprick sensation. This formed one part of my display at a University Expo recently where I was offering "free" electric shocks. I would demonstrate on my arm first before calling for volunteers and it was quite a popular display.

(click to enlarge)

This is the waveform of the output at 20 uS per division, which is a damped wave of around 25 kHz with a superimposed signal of about 1 MHz on top.  It is about 40 kV at 20 uA but measurements are difficult at this frequency.

horizontal rule

HV supplies from a photocopier 5 kV  2006 
I gutted a Toshiba photocopier a few days ago. Lots of other stuff including 2 HV supplies. They have 4 input wires so I was a bit stuck to work out how to get them to go. This is how I did it.

1 Work out the supply voltage from the main power board. Most things seemed to be 24 V rated so I went with that.
2 Check the small filter electrolytic cap polarity with the broader PCB tracks that connects near the input wire connector, to determine which is positive and negative. (No, positive is not the red wire - that's just in movies where they defuse the bomb)
3 Connect the supply - start with 12V to make sure minimal current drain at this stage.
4 By trial and error touch one of the two remaining wires to earth. Bingo its running. Cut off the other wire. Draw is about 130 mA 24 V no load.

  (click to enlarge)

The left photo shows the larger supply outputs 5 kV DC, 3.8 kV AC and a few smaller voltages.
I have added a cap to show it is DC and brighten up the sparks. The right photo shows the smaller supply.

horizontal rule

Valve regulated supply 50 kV AC 2006
An old 50 kV 2.5 mA regulated supply was a throw out from the Physics Dept. Worked with minor repairs and a good dusting. It uses 18 valves (remember them - before semiconductors) driving a large flyback transformer and a 6 stage C-W multiplier. Quite nice for a lifter supply if you don't mind the 40 kg weight for a supply that puts out only 100 W.

  (click to enlarge)

horizontal rule

Xenon lamp ignition supply  50 kV AC 2008
An old 50 kV supply was an ignitor for an 8 kW short arc xenon lamp used as an ophthalmic coagulator in days before lasers.  Examination and a bit of testing showed a circuit not unlike that of a Tesla coil. It has a 220 to 12 kV transformer driving two 1000 pF doorknob caps in a tank circuit with a spark gap. This drives a big epoxy coated coil to give the sparks rated at 50 kV.

   (click to enlarge)

The sparks here are about 1 inch and you can see the multiply stacked gap firing as well.

horizontal rule

X-ray transformer 120 kV 2008

  (click to enlarge)

This is the internals of a Siemens 120kV x-ray tube head which includes the transformer (not rectified) and a rotating anode under oil sealed and lead shielded. The glass has been removed with the outline shown in yellow.  The electron beam is shown in red and the x-rays in purple. The induction motor is outside the glass and works well on 250V with a phase delay with a 1 uF capacitor on the additional windings.  The right picture is the filament on the cathode electron gun which I have joined to some glass feed through wire from a neon tube.


This is an x-ray transformer that I have had lying around for years.  It comes from an x-ray head with tube enclosed and is rated at 168V in 125kV out.  I used an angle grinder to get it out of the lead lined container.


(click to enlarge)

Unfortunately the HV winding was open circuit but still gave a 1 inch spark at 100V. I sort of hoped it might do better when I got it under oil but of course it didn't. It was drawing about 5kW to get that 1 inch spark! 

horizontal rule

Sparks for beginners project 2008
Here is a fast, cheap and generally safe project for beginners for 1 inch sparks with a minimum component count.  It uses an ignition coil from a car.

  (click to enlarge)

The 3 second photographic exposure above shows 1 inch sparks from this project.  Here's what you need.

  (click to enlarge)

Parts
1: Car battery is simplest and safest but a battery charger might do or a 12 V sealed lead acid (SLA) battery. It will draw about 12 amps with a fully charged battery. The battery should be removed from the car to avoid any risk to its electronics.
2: Ignition coil (from car wreckers for a few dollars). The can type was used extensively in pre 1980's cars and is one part of the Kettering ignition system that this project is based on.
3: Condenser.  This is the 1 inch long cylinder with a black wire coming out of it above.  This is a part found in the distributor of cars of that era. I bought one new for $13 as the wreckers wouldn't split it from an old $30 distributor.  A condenser is an old fashioned name that the auto trade uses for a capacitor with a typical value of 0.22 uF (microFarads). You could substitute a capacitor from your local electronics store rated at 200 V or more with a capacitance of 0.22 up to 1.0 uF which would be cheaper or just experiment. A "greencap" or similar polyester type capacitor seems suitable.
4: Wire. A few feet of almost any type of wire that you can strip the insulation off. Here I have used single strand wire which strips simply with a potato peeler (or use a pocket knife). 
5: A few nails of almost any size. Wood screws would do fine too.
6: A small piece of aluminum foil. This is just to stuff down the top of the ignition coil to reach the contact about one inch down the insulator.
7: Wood for the base can be anything you can nail into. Chipboard or laminates are fine

Instructions:
Wind the wire to the various points  by just winding a number of turns of the bared wire around each nail or terminal. Do the battery terminal last because this makes it "live".

   (click to enlarge)

The left photo shows the wiring layout.  The switch (equivalent of the "points" in an ignition system) is the two wires at bottom right.  To operate, touch the two wires together. You should see a very small spark where the wires touch. Current is now flowing into the coil and has built up an internal magnetic field. Immediately lift the wire off to break the contact.  The collapsing field creates a voltage spike of hundreds of volts which is raised to perhaps 30,000 volts at the output. You will see another spark where the wires were touching, larger this time. In most cases you will see a long high voltage spark from the aluminum foil to one of the terminals.  The right photo show a 2 second exposure with several long sparks.

So you have completed it and have made some sparks. But is it safe? Yes and no. A shock from this to is similar to being pricked with a needle. Not pleasant but tolerable. Of course if you jump backward and trip over and hit your head then yes you may do some injury.

(click to enlarge)

Here is a spark onto my arm. I had to turn on the camera remote and turn on the sparks with my left hand, seen only as a blur in this 2 second exposure.  It took about 10 shocks to get a reasonable picture. My right arm receiving the shock will jump involuntarily. That's how muscles work and was discovered by Galvani giving shocks to frog legs. Anyway, I survived unscathed although I probably get more practice than most.

So what can you do with it?

  (click to enlarge)

How about lighting up a lot of "dead" fluorescent lights? As you can see, some are more dead than others. Try testing conductivity of various objects like dry then wet wood or plastic.  See how well it jumps through paper then thin plastic.

Just a note. High voltage can damage electronic equipment like phones, ipods, TV's and computers. Keep it well away. 30,000 volts will jump 1 inch and 2-3 inches along the surface of insulation.

If you want to progress further to something a little more complicated, try this:
It uses a relay as a vibrator to turn current on and off rapidly to an ignition coil.


 
(click to enlarge)

The top photo shows the ignition coil and relay running on 12 volts at 5 amps from a power supply, battery charger or car battery.  There are only three parts.  It uses a relay as a vibrator to turn current on and off rapidly to an ignition coil. The bottom left photo shows a close up of the wiring. The bottom right photo shows the schematic with the capacitor, relay and ignition coil.

  (click to enlarge)

The left photo shows the relay with the connection for the coil as the bottom two pins and the other contacts coming out in line. Note the center contact is the one that moves and touches the lower contact in this picture. This is the "normally connected" (NC) pole and is the one used here. The top contact is the "normally open" (NO) pole and is not used here.  The right photo shows the ignition coil.  These should be available for a few dollars from an auto wreckers.

Parts
1 12V SPST relay (single pole single throw) Can also use DPST (double pole double throw).
2 1 microFarad capacitor (polyester - greencap) over 200V rating. Or a condenser as used above.
3 Ignition coil (from car wreckers)
4 Wood, nails and solder
5 Power supply. Need 12 volt at 5A. Or car battery (take out of car first)

Advantages
Simple
Non lethal but must take care with high voltage.
Parts fairly easily obtainable from different places (Electronics store, Wreckers)

Disadvantages
Draws a lot of power
Not efficient
Will over-heat the coil in long runs
Causes interference to some power supplies.
Relay lifetime will be limited and the contacts will burn out before too long.

I often get people with little experience wanting to make a Tesla coil as a first HV project. Often school kids looking to do a science fair project.  I have been very reluctant to encourage Tesla coil building in that age group in view of the lethal nature of the supply. I've often had to point them off to other sites for simple HV projects.
This has been the motivation behind this little project. In fact it was the way I got into HV when I was 14 and I used a multivibrator out of a valve radio set to run two IC's. It is pretty safe and lots to learn and do with nothing really critical.

(click to enlarge)

Photo shows the identical circuit running 2 coils in 1972.

horizontal rule

Van de Graaff generator  2003

  (click to enlarge)

This is a static electricity generator of the type used in displays which make your hair stand on end.  It uses 2 inch rubber belt with fibre reinforcing which was the only non black belt I could find (black rubber is slightly conductive). Powered by a variable speed electric drill. Top load is 12 inch ducting.  I have tried a 10 kV DC charging spray but there was no improvement over the standard triboelectric static generation. Maximum sparks on a low humidity day are about 2 inches. More work needs to be done.  Winter and the increased humidity will put this on the back burner for a while.  PVC is not ideal as it does tend to absorb a little moisture and polypropylene is better.

horizontal rule

Spiral impulse generator  2008  
These are an odd little high voltage generator which are in principle, part Blumlein generator (like the nitrogen laser uses) and part induction coil.  They are very simple and compact and very easy to make. They have two copper strips insulated from each other and rolled up like a rolled capacitor. Apply a few kV at one end of both strips and they will charge up. Short circuit one end with a spark gap and a very fast pulse passes in the Blumlein capacitor strips. This will have a magnetic effect as the current in each copper strip (my brain starts to hurt here) will have an additive effect and like current in a coil will result in magnetic induction in the remaining turns of copper strip

  (click to enlarge)

The left photo shows the spiral impulse generator generating a 5 mm spark (perhaps 5 kV) from a 1 mm spark gap.    The spark gap is between the two electrodes (which are not connected to each other) and the right upper electrode is the one that continues through to the output electrode strip with the longer spark coming off it.  The capacitance between the two strips is 900 pF.  The right photo shows the 2 kV peak input from a small NST limited by a variac.  It is half wave rectified and run through a 1 MOhm resistor.  My meter reads peak voltage AC or DC as I have designed it.

  (click to enlarge)

The left diagram shows the circuit of the basic spiral impulse generator with two copper strips with a spark gap between them. The are insulated from each other and rolled up.  The right diagram shows the version I am using with extended foil.  The larger version I try later has equal foils and works better for a number of reasons.


(click to enlarge)

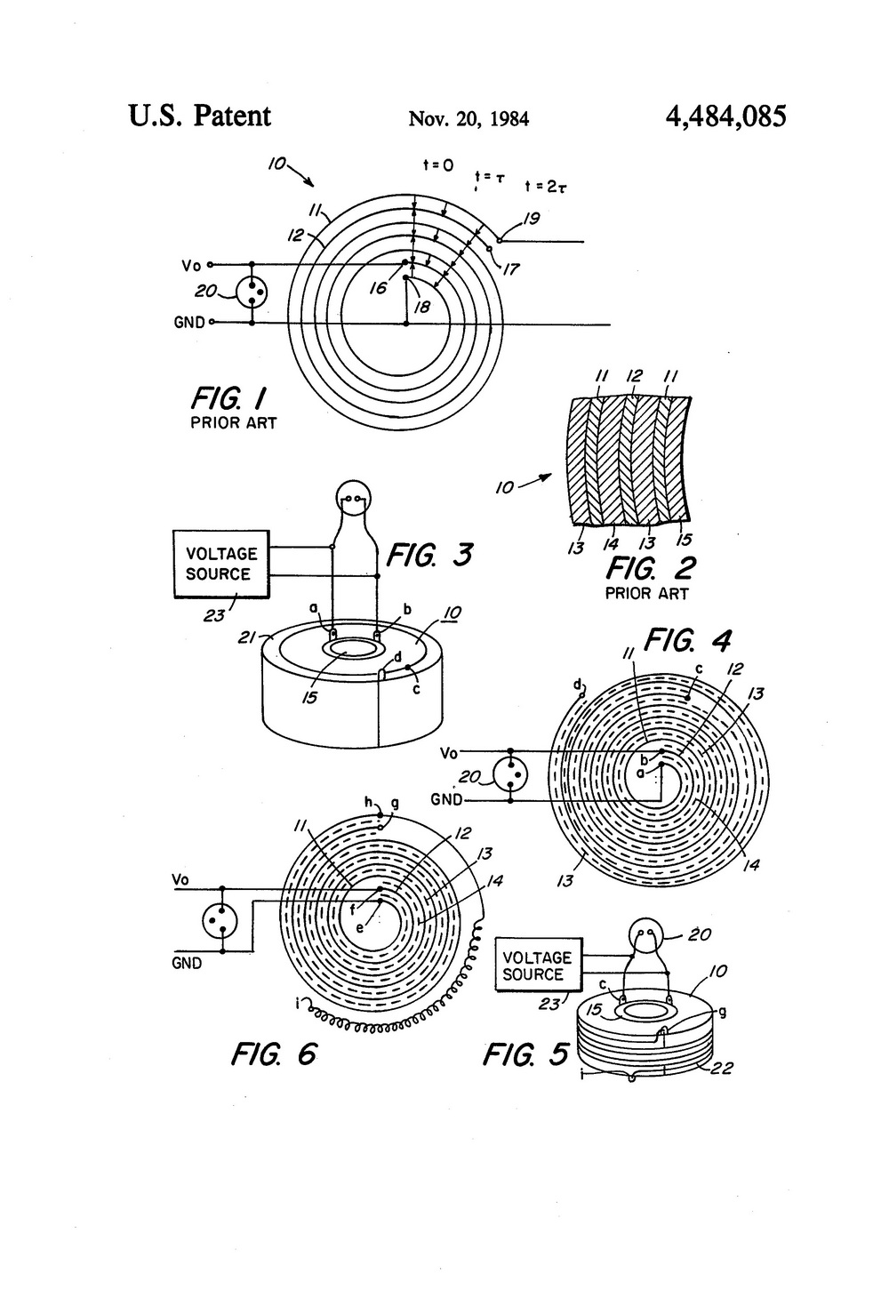
The left photo shows the 1984 patent that this comes from.   The center photo shows the start of the copper strip windings separated by polyethylene sheet.   The right photo shows the strips of copper foil of 10 x 62 mm obtained as big sheets of 60 cm square from a craft shop. I have soldered two together for the long winding.  Hence there are two parallel strips of 4.5 turns and one strip only continues on for another 4.5 turns.  It doesn't seem too efficient but I don't really understand the setup enough to know which way to modify it best.  I imagine that I could make one with more turns to start.

(click to enlarge)

The photo above shows an earlier version that didn't work other than to light a neon pilot. No real idea why, but I tried again with thinner flatter windings.

Now here is a better one.

(click to enlarge)

The photo above shows a beefier version.  Specifications:
Output....... bright 1 inch (2.5 cm) sparks (perhaps 30 kV)
Input.......... 6 kV peak. (ie 5 times voltage stepup)
Foil............ Equal length copper foils 4.5 cm x 367 cm plus lead in.
Former...... 4.2 x 7cm. Ext diameter 8 cm.
Turns........ Calculated 20 turns
Spark gap 2 mm
Core......... Ferrrite E cores to fit in 4 cm gap.
Cap.......... 45 nF (prev one was 0.9 nF)
Insul.......... Polyethylene groundsheet

This new version seems to have scaled in spark brightness consistent with 50 times the capacitance and also scaled in output spark length 8 mm to 25 mm consistent with the increased turns from 9 to 20. Construction type was similar and dielectric and input voltage were unchanged.
The capacitor holds its charge well and if discharged with a chicken stick giving a reasonable "zap", will give an output spark as well.
I suspect that for high repetition rates, the use of a multiple segment gap would prevent power arcing.
I also suspect from my experience with TEA nitrogen lasers that the spark gap type and position is critical. The use of a gap with two cylindrical electrodes in continuity with each conductor strip and covering the full width should present the lowest inductance.
As it is, it should be able to be driven much harder than just a few pulses per second, but I am not ready to break it yet.  It is arcing over already so any better performance would need to be under oil.

There is discussion on the fusor board. A commercial one is here.  Also discussion on the 4HVforum that I started about this. Various patents are here (1979 multiple conductors per layer), here (1996 multiple conductors). Also a sort of simple explanation of how they work here.  A Blumlein pulse generator using coax cable is here.

horizontal rule

Voltmeter  2004  
Using the meter from my old x-ray unit (with a dial reading of 100 kV full scale deflection - FSD for 125 uA), I added a resistor chain (720 M Ohm, 72 M Ohm, 7.2 M Ohm, 800 k Ohm) to allow FSD of 100 kV, 10 kV or 1 kV.  The current is full wave rectified at about 100V level with fast diodes (BYV-29   500 Volt, 9 A, 60ns) and is protected by a gas arrester and diodes across the meter itself.  A  bridge rectifier gives the ability to read DC and mean AC. Voltages up to 1000 V agree with my digital voltmeter to within around 5 % on DC and mean AC 50 Hz.  A 30 kV DC power supply seems to read accurately.  This is not intended for Tesla type frequencies but it is reasonably non inductive and the diodes are high speed ones.  A capacitor divider is needed as well for higher frequencies. All the main workings are behind the acrylic to avoid accidents.  Although the resistors have a peak rating of around 100 kV, the spacing between strings is not enough for more than 80 kV before big sparks start jumping everywhere although without damage to the meter..


 (click to enlarge)

horizontal rule

LED Voltmeter  2008  
I needed a high voltage meter able to be seen from a distance at night.  Specifically my big cap bank which I wanted to run at higher powers. The cap bank is rated to 12 kV so the meter needed to cover at least that and also be isolated so running off rechargeable battery power.

 (click to enlarge)

Above shows the meter reading 13.06 kV using a 30 kV rated HV probe.  The leads and switch are at the back.  There is some rudimentary HV protection using a neon pilot globe, capacitor and a small toroidal coil in the main lead.

horizontal rule

Water resistor 2008  
I needed a resistor to handle a moderate amount of power and be adjustable. To do this requires typically large and expensive ceramic resistors. A simple approach is to use water filled plastic tubing with the resistance controlled by the addition of a salt such as copper sulphate. Copper connectors form the electrodes.

   (click to enlarge)

The left photo above shows the ends of the 2 m x 10mm tubing with copper tubing connectors and valve to allow air release or to replace the water if it becomes clouded or for a resistance change.  The advantage of this construction is that it is not specifically inductive so sparks, like Tesla sparks will not try to jump across adjacent windings.  The right photo shows sparks from a 60 kV supply. The resistor was set at 200 kOhms.  The heat was enough to cause cavitation either with boiling or electrolysis but it survived fine without leaks.

horizontal rule

Future plans

bullet

A DRSSTC (Double Resonant Solid State Tesla Coil) is a must do at some stage.

bullet

  Lots of diodes: A 6 foot stack of 112 of 2.5 kV 2.5 A,  200 of BYV-29 500 Volt, 9 A, 60 nS, 500 of IN4007 1000 V 1 A, 1000 of 2.5 kV, 250mA, plus 2 of 1200 V 1700 A SCR's and another 12 similar sized ones.  Lots of projects in mind for these.

bullet

Marx generator for high voltage DC which means more capacitors (a lot more).  I have a large number of resistors that should do in HV service and am getting some ceramic capacitors which should be OK for over 1 foot of spark.

bullet

I have various IGBT bricks and arrays to use in a half or full bridge arrangement to experiment with and also 20 A IGBT's from old microwave ovens.

bullet

   (click to enlarge)

A nice 60 kV transformer and heavy dual variac for the kids to play with.

Sadly I also have to eat, sleep, work and communicate with my family periodically...
 

 

This page was last updated September 12, 2010